查机构
查医生
查项目
查产品
查一下
首页
医美机构
整形医生
医美项目
医美产品
医美报价
医美资讯
医美查网
医美产品
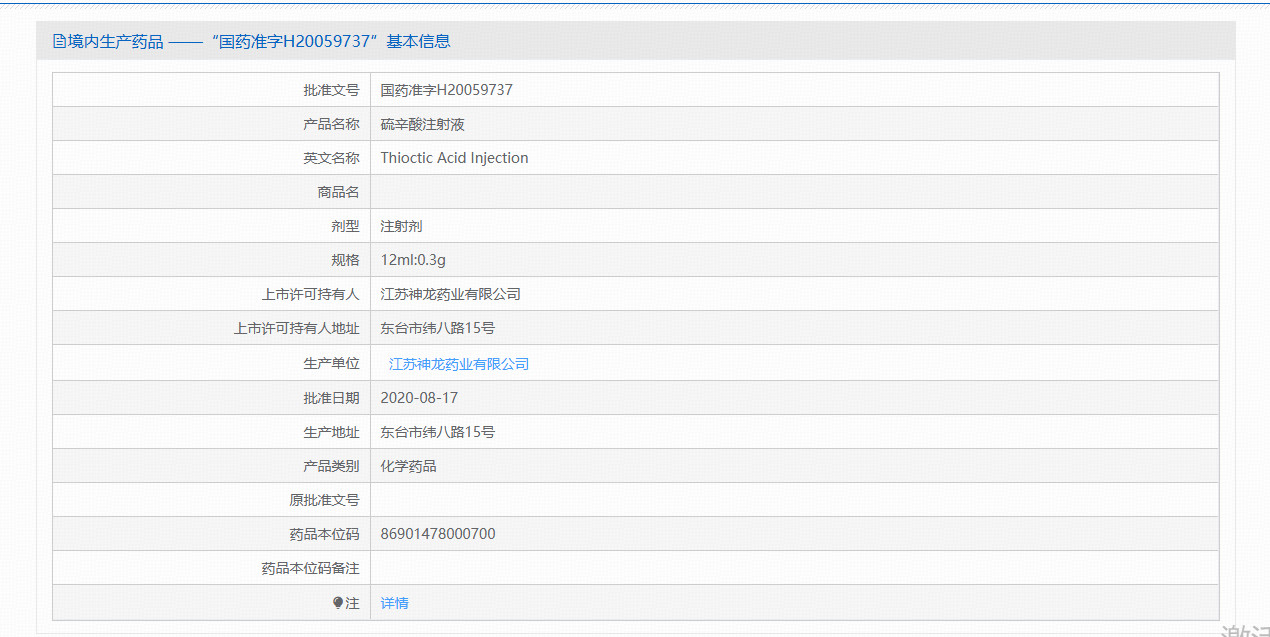
硫辛酸注射液
硫辛酸注射液
别名:
硫辛酸注射液
基础信息
产品简介
硫辛酸注射液
产品优点
硫辛酸注射液
产品缺点
暂无
认证信息
该仪器获得以下认证
中国国家食品药品监督管理认证
使用方式
操作档案
使用时长
30分钟-1小时左右
间隔周期
1-2次,3个月后进行第二次
恢复时间
1-3天左右
作用周期
1-3个月
操作方式
注射
麻醉方式
无需麻醉
以上信息均为参考,实际以到医院操作为准。
术后及常见问题
术后反应
暂无
安全提示
暂无
下载医美查APP
了解更多信息