logo
logo
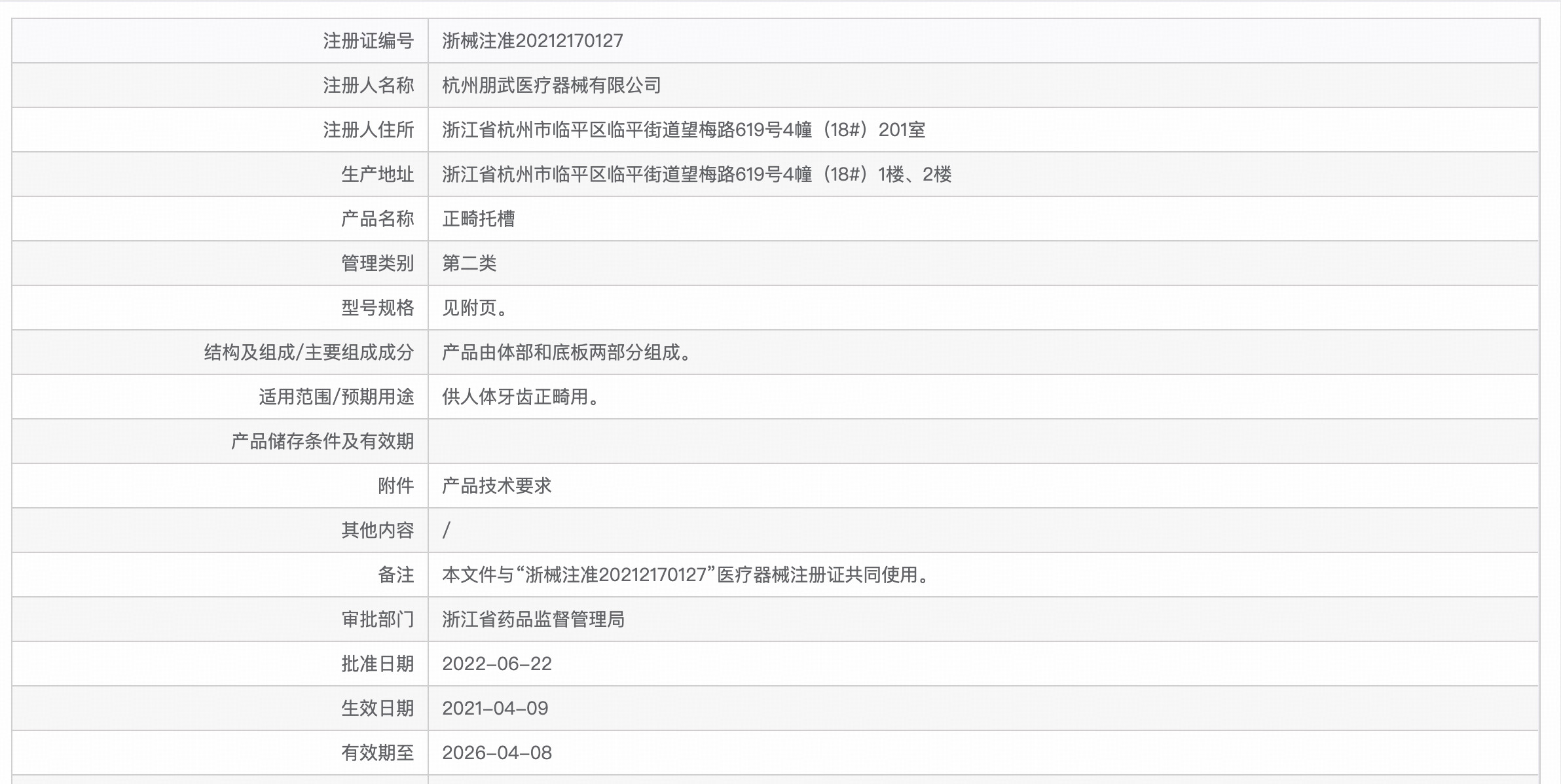
奥世美正畸矫治系统—Q1数字化舒适托槽矫治套装
奥世美正畸矫治系统—Q1数字化舒适托槽矫治套装
别名:
奥世美正畸矫治系统—Q1数字化舒适托槽矫治套装是在固定正畸技术上带来了革命性突破的一款矫治套装。它的主要优点可以体验AI智能面诊,提前预见矫治效果,通过舒适托槽和舒适弓丝的巧妙搭配,可降低矫正过程中的不适与痛感。

基础信息

产品简介
Q1数字化舒适托槽矫治套装是由AI智能面诊、PANDAORTHO舒适托槽、舒适弓丝套装、PANDAORTHO正畸护理套装共同组成的一套数字化正畸矫治系统。
产品优点
作用牙齿整齐,牙齿矫正,改善突嘴,美牙,牙齿对称,降低患者的不适感,比传统自锁托槽降低20%高度,减少对口腔黏膜刺激,降低矫治过程中牙齿龋坏的风险
产品缺点
价格较高
认证信息
该仪器获得以下认证
  • 奥世美正畸矫治系统—Q1数字化舒适托槽矫治套装
中国国家食品药品监督管理认证
  • 奥世美正畸矫治系统—Q1数字化舒适托槽矫治套装

使用方式

操作档案
使用时长
30分钟-1小时左右
间隔周期
10-18个月
恢复时间
6个月左右
作用周期
术后需长期佩戴保持器
操作方式
涂抹
麻醉方式
无需麻醉

以上信息均为参考,实际以到医院操作为准。

材料档案
生产地
中国

以上信息均为参考,实际以到医院操作为准。

术后及常见问题

术后反应
正畸初次术后可能出现以下反应: 不适和疼痛:牙齿开始移动,导致轻到中度的疼痛和压力感,可以通过止痛药缓解。熊猫矫正可降低不适感 口腔刺激:装置边缘可能引起刺激,使用正畸蜡可减轻不适。 进食困难:初期可能需要避免硬食和粘性食物,选择软食或流质食物。 口腔卫生维护:带装置清洁较困难,需使用正畸牙刷和牙间刷仔细清洁,可能需使用含氟漱口水。
安全提示
在进行正畸治疗时,严格遵循医生的指导至关重要,以确保治疗的有效性和安全性。以下是一些基本的注意事项: 定期复诊:按时参加医生安排的所有复诊,以便医生监控治疗进度并及时调整治疗方案。 维护口腔卫生:使用适合正畸患者的特殊牙刷和牙线,每天仔细清洁牙齿和正畸器,防止食物残留和细菌积累。 饮食注意:避免食用硬的、粘的或过于坚固的食物,这些食物可能损坏正畸器或导致牙齿移动。 佩戴保护:参与运动或有身体接触的活动时,佩戴口腔保护器,以保护正畸器和牙齿。 遵守使用指南:如果使用可拆卸的正畸器,确保按照医生的指示佩戴足够的时间。
奥世美正畸矫治系统—Q1数字化舒适托槽矫治套装

下载医美查APP

了解更多信息