logo
logo
飞顿菲蜜丽私密青春激光
飞顿菲蜜丽私密青春激光
别名: 菲蜜丽Femilift
Femilift菲蜜丽采用独有激光技术 — VRT分龄收紧技术,作用于女性粘膜组织,实现不同层次的新生重塑改变,进而全面提高女性私密健康度

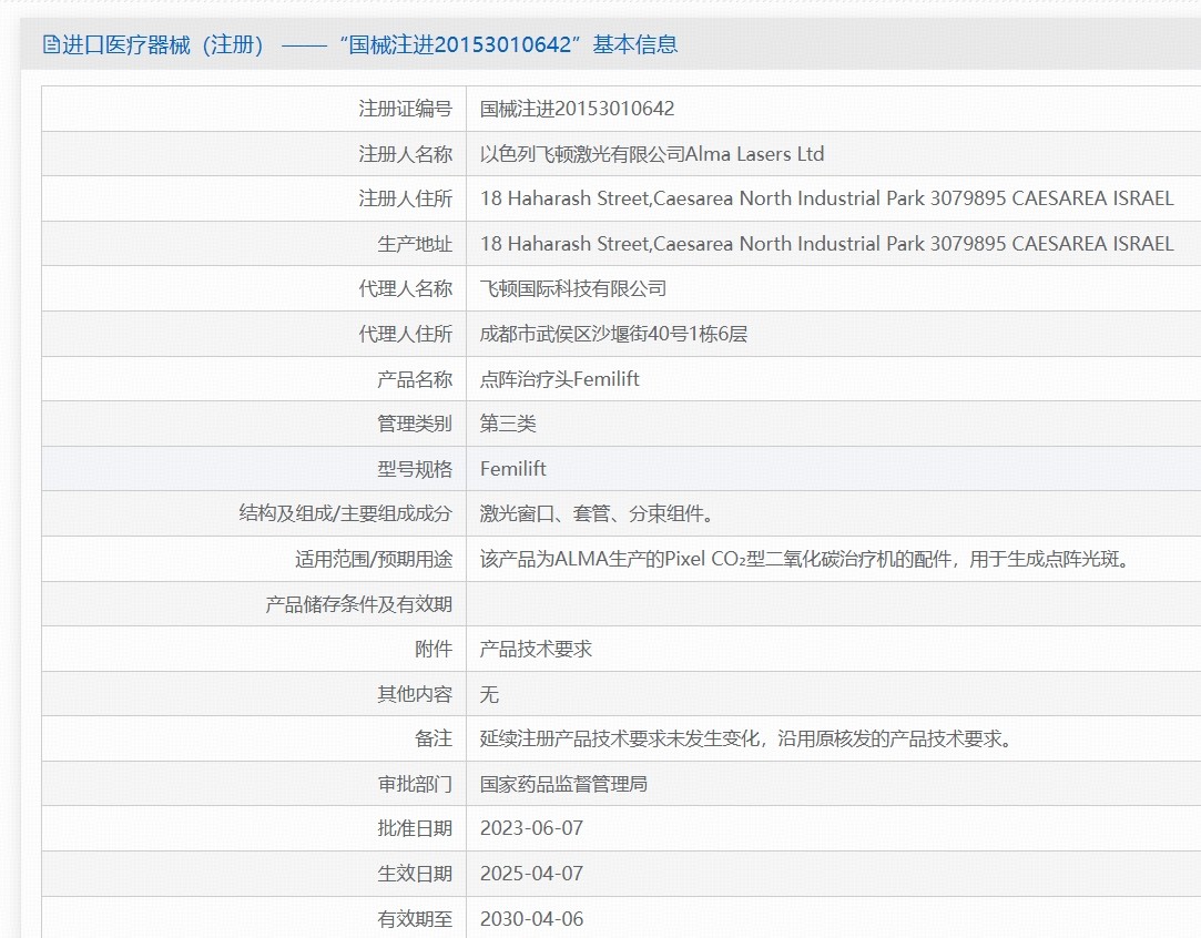
基础信息

产品简介
菲蜜丽私密超脉冲CO2激光采用以色列飞顿公司根据女性阴道粘膜特性及CO2激光性能独立研发的粘膜激光技术——VRT分龄收紧技术,通过菲蜜丽DOE技术将传统光束分割成上百个几何尺寸相同、能量相同、功率密度相同的微光斑,同时能够根据女性私密衰老特征灵活设置剥脱与热作用比例。
产品优点
1. 疗程治疗有效率高
与传统收紧手术不同,Femilift菲蜜丽采用独有激光技术 — VRT分龄收紧技术,作用于女性粘膜组织,实现不同层次的新生重塑改变,进而全面提高女性私密健康度
2. 舒适度高
菲蜜丽采用VRT分龄抗衰技术,可以针对不同粘膜层次进行分层治疗,不会过度剥脱组织,无需麻醉,治疗过程非常舒适,治疗可即刻即可进行正常工作与生活
3.  无交叉感染
菲蜜丽采用一次性DOE保护罩,单人单次使用,避免交叉感染。
产品缺点
1.对于严重的阴道松弛及重度子宫脱垂的作用不大;
2.需多次治疗,费用较高。
认证信息
该仪器获得以下认证
  • 飞顿菲蜜丽私密青春激光
  • 飞顿菲蜜丽私密青春激光
  • 飞顿菲蜜丽私密青春激光
中国国家食品药品监督管理认证
  • 飞顿菲蜜丽私密青春激光

使用方式

操作档案
使用时长
10-20分钟左右
间隔周期
3次一疗程,每次间隔一个月
恢复时间
1-3天左右
作用周期
2年左右
操作方式
光电
麻醉方式
无需麻醉

以上信息均为参考,实际以到医院操作为准。

材料档案
生产地
以色列
公司厂商
以色列Alma(飞顿)激光公司
能量源
CO2激光

以上信息均为参考,实际以到医院操作为准。

术后及常见问题

术后反应
治疗后分泌物增多或部分出现减少,偶见淡粉色分泌物。
安全提示
女性月经期、怀孕期不能做此项目;
阴道炎宫颈炎、艾滋病患者、做过阴道埋线收紧者不能做此项目;
术后3天内禁止性生活;
术后保持外阴清洁。
常见问答
  • 治疗安全吗?会不会造成感染?
    收起
    医生根据患者情况,调节合适热能,符合治疗规范治疗是安全的。采用的是一次性无菌激光套管,不会造成感染。
  • 月经期能做吗?
    展开
    月经期是不能做的,血液会影响激光的穿透能力,使收紧效果受到影响,月经后5-7天是很好的治疗时期。
  • 治疗过程痛吗?需要多长时间?
    展开
    治疗过程中只有温热的感觉。15分钟左右即可完成治疗。
  • 治疗会影响再次生育吗?
    展开
    不会。菲蜜丽激光可以使阴道组织的胶原纤维及弹性纤维增生、重塑,可以促进阴道组织早日恢复到正常状态。
  • 术前需要做哪些准备?
    展开
    1.术前保持私密处清洁卫生; 2.有妇科炎症术前应告知医生,需治疗完炎症再进行治疗。
  • 术后如何护理?
    展开
    1.术后3小时不排尿,12小时不碰水,散热15分钟再穿裤子; 2.一周内禁止蒸桑拿,不能穿美体裤,不能用护垫,穿宽松透气的裤子; 3.至少7天禁止性生活; 4.一周内禁辛辣刺激、海鲜发物、色素重食物,禁烟酒; 5.多休息,保持外阴清洁干净。
飞顿菲蜜丽私密青春激光

下载医美查APP

了解更多信息